Ha Peter, nou je zou weleens gelijk kunnen hebben als ik een beetje Google!
Daar had ik zelf niet zo 1 2 3 aan gedacht dat het dat kan zijn. Heb dan nog geluk dat de bus (nog) gewoon goed rijdt.
Ik zal eerst eens goed kijken of ik het onderdeelnummer kan vinden, dacht dat er niks op stond, maar de ...
Welkom op het weetjewel forum, van en voor Volkswagen Transporter rijders.
Groetjes webmaster Henk-1
klik rechts op de "X" dan verdwijnt dit veld
Groetjes webmaster Henk-1
klik rechts op de "X" dan verdwijnt dit veld
Er zijn 121 resultaten gevonden
- 11 jul 2024, 17:30
- Forum: VW T4
- Onderwerp: Welke sensor is dit (en welk merk bumper kan ik het best kopen?)
- Reacties: 4
- Weergaves: 804
- 10 jul 2024, 11:58
- Forum: VW T4
- Onderwerp: Welke sensor is dit (en welk merk bumper kan ik het best kopen?)
- Reacties: 4
- Weergaves: 804
Re: Welke sensor is dit (en welk merk bumper kan ik het best kopen?)
PS Wat ik heb gebruikt/gevonden van een CATCAR.info
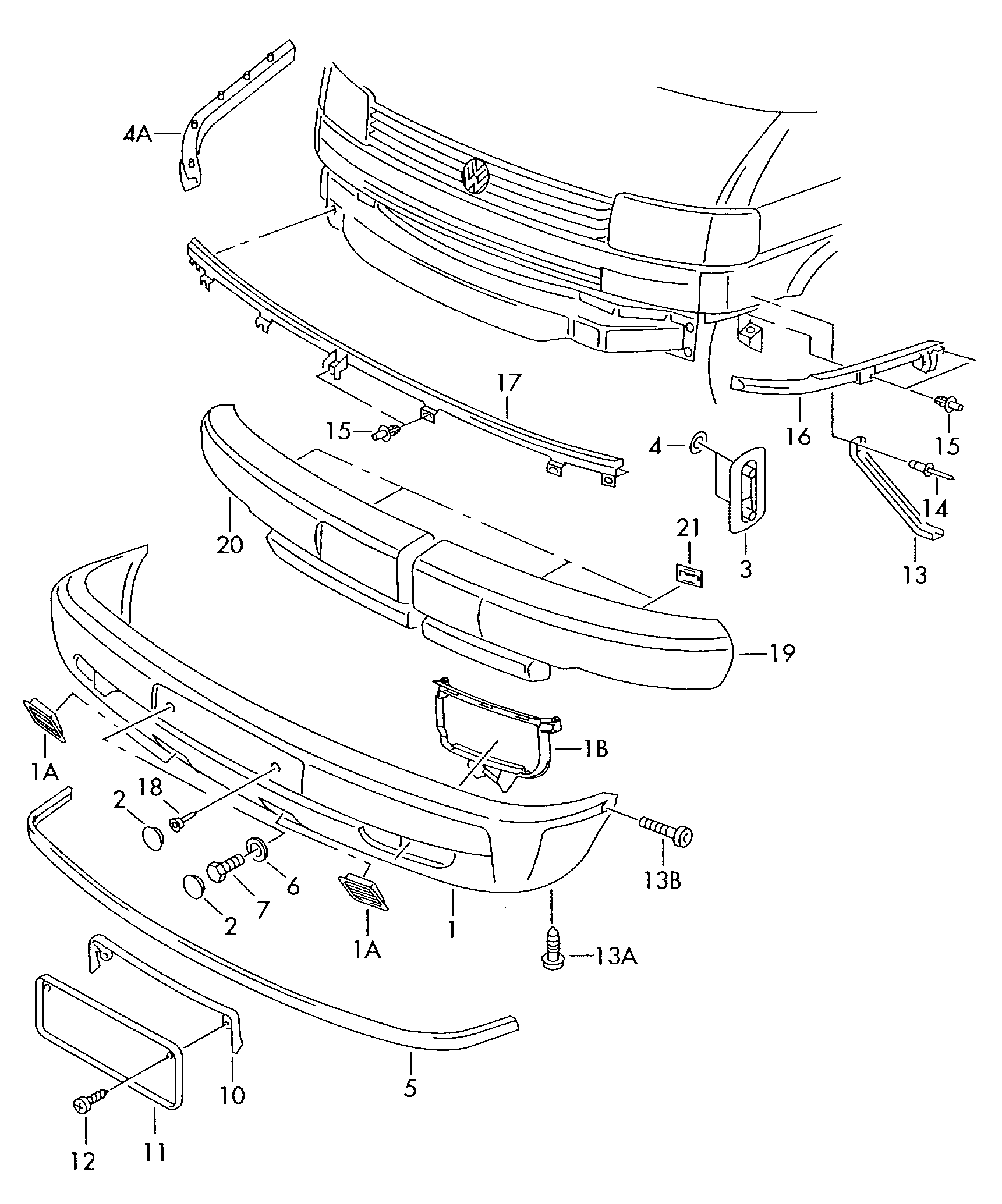
Onderdeel 15A is de bracket die ik bedoel: Onderdelen 1, 13 en 16 hieronder:
Onderdeel 15A is de bracket die ik bedoel: Onderdelen 1, 13 en 16 hieronder:
- 10 jul 2024, 11:55
- Forum: VW T4
- Onderwerp: Welke sensor is dit (en welk merk bumper kan ik het best kopen?)
- Reacties: 4
- Weergaves: 804
Welke sensor is dit (en welk merk bumper kan ik het best kopen?)
Een wat minder helder moment en een hoop gekraak later moet ik op zoek naar wat nieuwe onderdeeltjes voor mijn bus. Een 2,5mm dikke bodemplaat is intussen al gearriveerd en houdt het volgende paaltje hopelijk wat beter tegen :huilen ...
Het paaltje eindigde zo goed als klem tegen het motorblok ...
Het paaltje eindigde zo goed als klem tegen het motorblok ...
- 10 okt 2022, 14:35
- Forum: VW T4
- Onderwerp: Gezocht: 5 naafkapjes 'oude' T4 velgen (ET44)
- Reacties: 9
- Weergaves: 583
Re: Gezocht: 5 naafkapjes 'oude' T4 velgen (ET44)
Ik bedoel 5 (of desnoods 4) van deze:
Weet eigenlijk niet de juiste benaming is...
Weet eigenlijk niet de juiste benaming is...
- 03 okt 2022, 19:02
- Forum: VW T4
- Onderwerp: Gezocht: 5 naafkapjes 'oude' T4 velgen (ET44)
- Reacties: 9
- Weergaves: 583
Re: Gezocht: 5 naafkapjes 'oude' T4 velgen (ET44)
Zal hem eens vragen :-).
Zie nu dat ik in alle verwarring het berichtje niet in "T4 onderdelen te koop/gezocht" gezet heb... Oeps... Naja gaat wel meer mis de laatste tijd :nuts .
Update: zie dat het wieldoppen zijn, zoek echt alleen de naafkapjes, deze thread mag ook wel naar de onderdelen te ...
Zie nu dat ik in alle verwarring het berichtje niet in "T4 onderdelen te koop/gezocht" gezet heb... Oeps... Naja gaat wel meer mis de laatste tijd :nuts .
Update: zie dat het wieldoppen zijn, zoek echt alleen de naafkapjes, deze thread mag ook wel naar de onderdelen te ...
- 25 sep 2022, 14:53
- Forum: VW T4
- Onderwerp: Gezocht: 5 naafkapjes 'oude' T4 velgen (ET44)
- Reacties: 9
- Weergaves: 583
Gezocht: 5 naafkapjes 'oude' T4 velgen (ET44)
Heeft er nog iemand een set nette naafkapjes voor op de stalen velgen die op de T4's tot ongeveer 1996 zijn geleverd? Dat zijn de velgen met meer rechthoekige dan ronde gaten.
Anders moet ik het nieuwere type wat gaan inkorten aan de achterkant denk ik.
Hoor het graag :-).
Anders moet ik het nieuwere type wat gaan inkorten aan de achterkant denk ik.
Hoor het graag :-).
- 20 feb 2022, 10:29
- Forum: VW T4
- Onderwerp: Beste velgen keuze voor de T4 met hedendaagse (all-terrain/all-road banden) aanbod?
- Reacties: 90
- Weergaves: 23523
Re: Beste velgen keuze voor de T4 met hedendaagse (all-terrain/all-road banden) aanbod?
Ik heb aanvullend nog een algemenere vraag: heeft iemand een idee hoe representatief de dB-indicatie op het label is voor de ervaring van bandengeluid? Een toename van 3dB is een verdubbeling van de geluidssterkte, maar met banden vind ik het zelf nogal wisselend wat de perceptie hiervan is... De ...
- 25 jan 2022, 14:17
- Forum: VW T4
- Onderwerp: Beste velgen keuze voor de T4 met hedendaagse (all-terrain/all-road banden) aanbod?
- Reacties: 90
- Weergaves: 23523
Re: Beste velgen keuze voor de T4 met hedendaagse (all-terrain/all-road banden) aanbod?
Hoi Mupke, de banden van de foto's zijn General Tire Grabber AT3 in de maat 205/70R15. Ze zijn redelijk stil en bevallen mijn goed. Ik heb ze op originele velgen laten leggen: in mijn geval die met rechthoekige gaten van het modeljaar tot 1996, maar dat kan ook op de normale velgen met ronde gaten ...
- 27 jul 2021, 13:37
- Forum: VW T4
- Onderwerp: Beste velgen keuze voor de T4 met hedendaagse (all-terrain/all-road banden) aanbod?
- Reacties: 90
- Weergaves: 23523
Re: Beste velgen keuze voor de T4 met hedendaagse (all-terrain/all-road banden) aanbod?
En nog een paar plaatjes, het ziet er wel super uit vind ik!
- 27 jul 2021, 13:36
- Forum: VW T4
- Onderwerp: Beste velgen keuze voor de T4 met hedendaagse (all-terrain/all-road banden) aanbod?
- Reacties: 90
- Weergaves: 23523
Re: Beste velgen keuze voor de T4 met hedendaagse (all-terrain/all-road banden) aanbod?
Na veel wikken en wegen is het er dan uiteindelijk toch van gekomen: er zitten nieuwe rubbers onder en achterop de bus :ikrij .
De velgjes waren in behoorlijk goede staat dus een Scotchbrite en een paar busjes primer+lak was voldoende...
Het zijn General Tire Grabber AT3 in de maat 205/70R15 ...
De velgjes waren in behoorlijk goede staat dus een Scotchbrite en een paar busjes primer+lak was voldoende...
Het zijn General Tire Grabber AT3 in de maat 205/70R15 ...
- 28 jun 2021, 12:45
- Forum: VW T4
- Onderwerp: Beste velgen keuze voor de T4 met hedendaagse (all-terrain/all-road banden) aanbod?
- Reacties: 90
- Weergaves: 23523
Re: Beste velgen keuze voor de T4 met hedendaagse (all-terrain/all-road banden) aanbod?
Snautzer/Pascal-141: bij voorkeur kies ik inderdaad voor een band met een loadindex van 100 of meer, nu verwacht ik wel dat die ietsje meer geluid zal maken en misschien iets minder comfort bieden zal.
J vd Pal: dat is eigenlijk wel een erg goed punt! Ik kom met enige regelmaat in Zweden en ...
J vd Pal: dat is eigenlijk wel een erg goed punt! Ik kom met enige regelmaat in Zweden en ...
- 25 jun 2021, 21:31
- Forum: VW T4
- Onderwerp: Beste velgen keuze voor de T4 met hedendaagse (all-terrain/all-road banden) aanbod?
- Reacties: 90
- Weergaves: 23523
Re: Beste velgen keuze voor de T4 met hedendaagse (all-terrain/all-road banden) aanbod?
Het is eigenlijk een slechte zaak: een topic starten met het voornemen om all-road bandjes onder je bus te lepelen om het vervolgens 6 jaar later nog niet geregeld te hebben :nuts . Geen noodzaak tot nieuwe banden en gewijzigde vakantieplannen...
Ik was voornemens stalen velgen te laten stralen en ...
Ik was voornemens stalen velgen te laten stralen en ...
- 11 mei 2020, 21:09
- Forum: VW T4
- Onderwerp: Beste velgen keuze voor de T4 met hedendaagse (all-terrain/all-road banden) aanbod?
- Reacties: 90
- Weergaves: 23523
Re: Beste velgen keuze voor de T4 met hedendaagse (all-terrain/all-road banden) aanbod?
Eigenlijk omdat ik de standaard velgen als het kan wil gebruiken. Naast dat ik naar fatsoenlijke offroad bandjes zoek mogen ze ook best mooi ogen en ik zie dat de AT3 zelfs geschikt is als winterband (rij met de bus weleens een bospad in, ijswegen, etc.). Heb wel zowel een set van voor MJ1996 als ...
- 10 mei 2020, 16:02
- Forum: VW T4
- Onderwerp: Beste velgen keuze voor de T4 met hedendaagse (all-terrain/all-road banden) aanbod?
- Reacties: 90
- Weergaves: 23523
Re: Beste velgen keuze voor de T4 met hedendaagse (all-terrain/all-road banden) aanbod?
Inmiddels heeft General Tires een aantal nieuwe modellen uitgebracht (oa de AT3) en omdat ik zelf de stap naar all-road nog steeds niet heb gemaakt leek het me tijd om eens te kijken wat voor 2020 de opties zijn.
AT3.jpg
De T4 met stalen velgen is geleverd in ET44 (<1996) en ET53, nu heb ...
AT3.jpg
De T4 met stalen velgen is geleverd in ET44 (<1996) en ET53, nu heb ...
- 14 feb 2020, 19:31
- Forum: VW T4
- Onderwerp: Wissers gaan soms niet meer uit...
- Reacties: 2
- Weergaves: 864
Wissers gaan soms niet meer uit...
Heeft iemand een idee wat er loos is als je ruitenwissers op de "1e snelheid" gaan wapperen en dan niet meer uit willen? Het gebeurt me met enige regelmaat dat de wisser van interval stand ineens op continue bedrijf gaat en dan niet meer uit wil.